
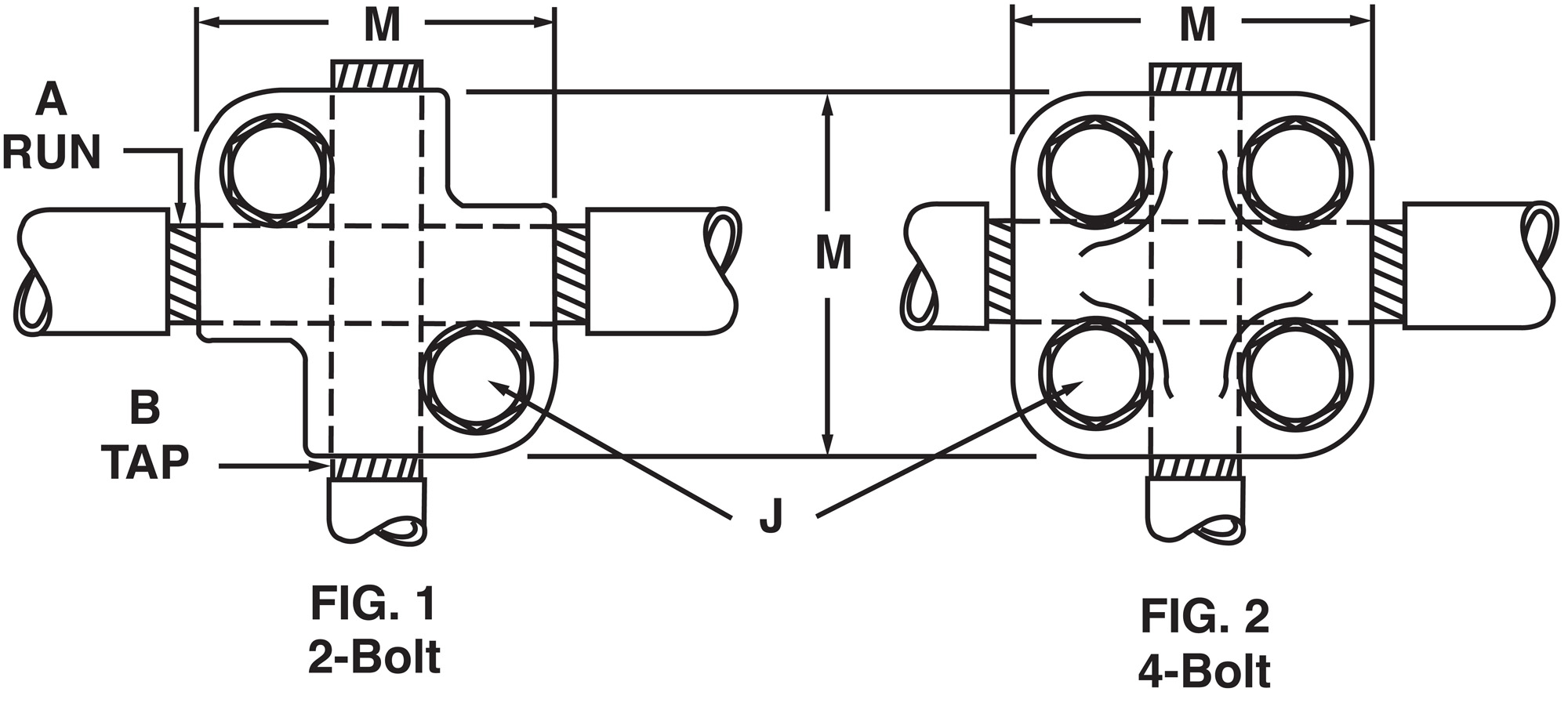
- Upper and lower clamping members are made of high strength bronze alloy
- For parallel taps, tee connections, cross connections or end-to-end connections
- Spacer is made from high conductivity copper alloy
- Furnished with high strength silicon bronze bolts and lock washers
SINCE 1928 MADE IN USA

