
- Manufactured from electrolytic copper for maximum conductivity and strength
- For aluminum to aluminum, copper to aluminum, and copper to copper
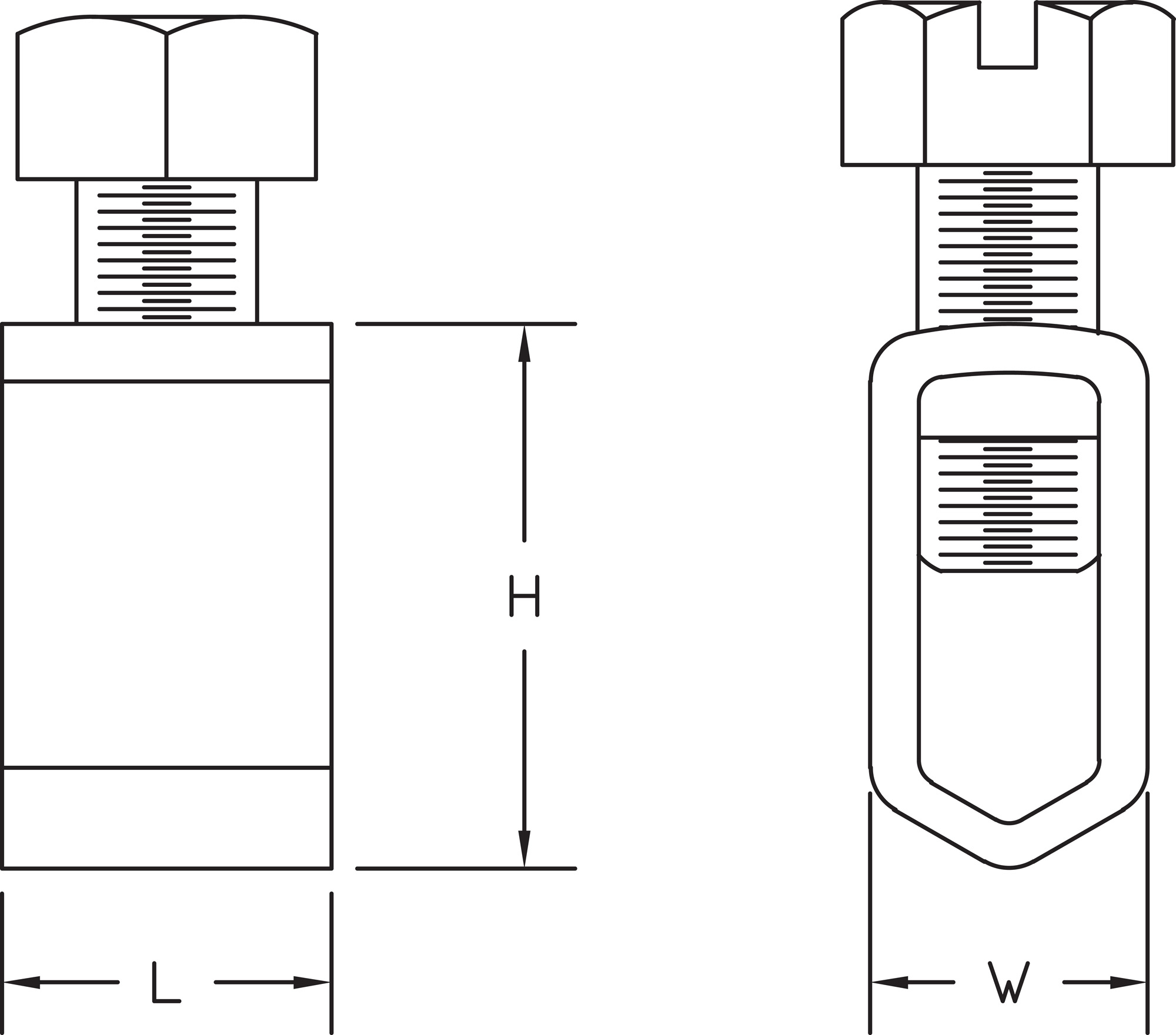
- Silicon bronze slotted hex screws allow for ease of installation with either screwdriver or wrench

| L (in.) | 0.30 |
| W (in.) | 0.26 |
| H (in.) | 0.48 |
No Downloads Found