- Manufactured from high strength copper alloy
- Designed to secure copper cable to flat studs, transformer spades, or copper bus
- Furnished with silicon bronze hardware for corrosion resistance
- Single wrench installation
- For tin plating, suffix catalog number with -TN
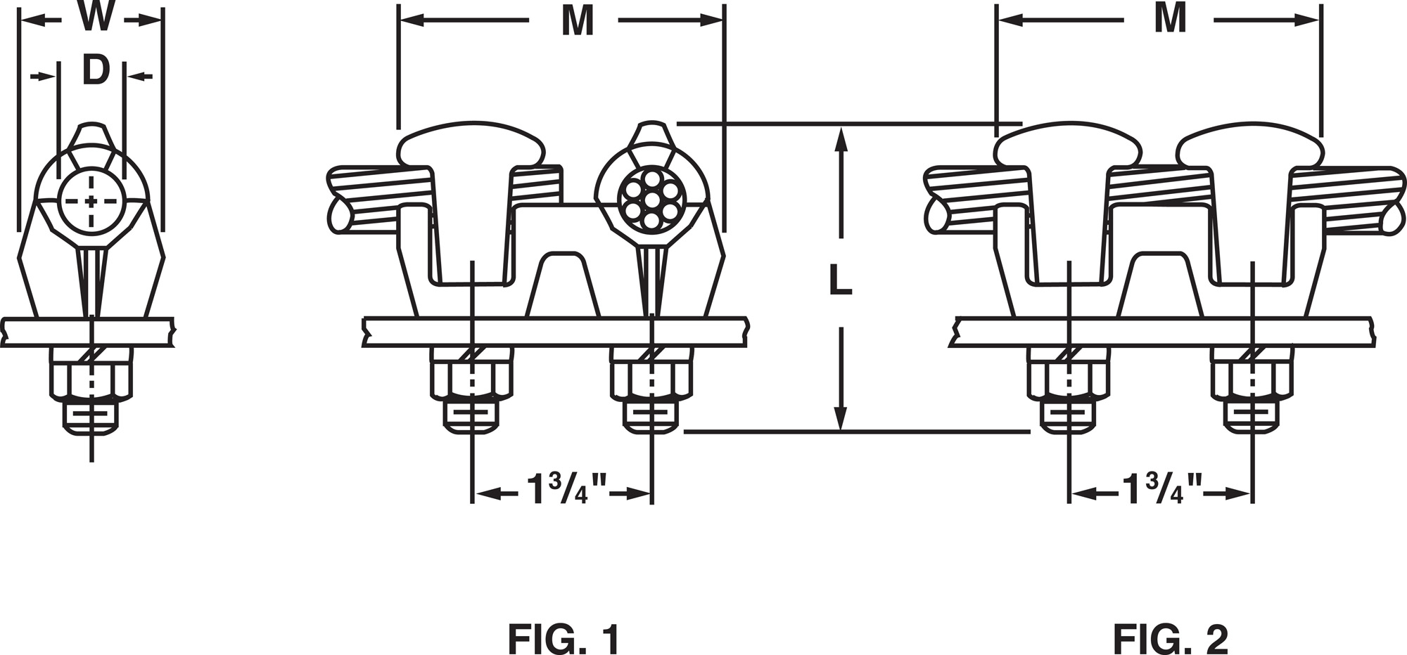
LDN-050N
Bronze Eyebolt Connector for 1/4" Bar 1/0 AWG - 500 kcmil
| D (in.) | 0.94 |
| L (in.) | 3.25 |
| M (in.) | 3.00 |
| W (in.) | 1.44 |
| Bolt Size | 1/2" |
No Downloads Found
Substitute Parts
Click Product for More Details
LDN-050NE
Difference: For 1/4" to 3/4" Thick Bar, NOT only 1/4" Thick Bar
SINCE 1928 MADE IN USA

