
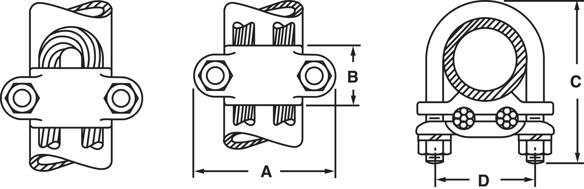
- Manufactured from high copper content alloy
- Used to connect two parallel cables or a looped cable to water pipe or tube
- Furnished with silicon bronze bolt, nuts, and lock washers for corrosion resistance
- Suitable for direct burial in earth or concrete
- Single wrench installation
SINCE 1928 MADE IN USA

