
- Manufactured from high copper content alloy
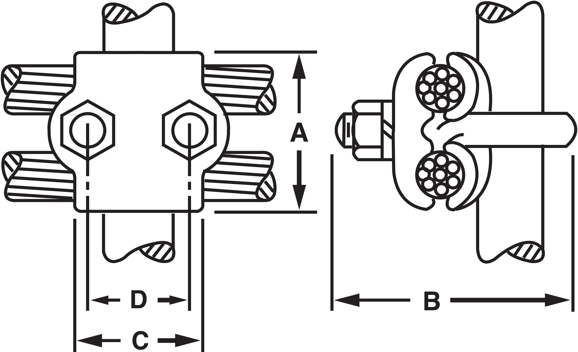
- Used to connect a range of parallel conductors perpendicular to rod, water pipe, or structured tube
- Use one groove for run and other for tap to equipment
- Furnished with silicon bronze bolt, nuts, and lock washers for corrosion resistance
- Suitable for direct burial in earth or concrete
- Single wrench installation
- UL 467 listed
SINCE 1928 MADE IN USA

