
- Manufactured from high strength, high conductivity cast copper alloy
- Furnished with stainless steel hardware for corrosion resistance
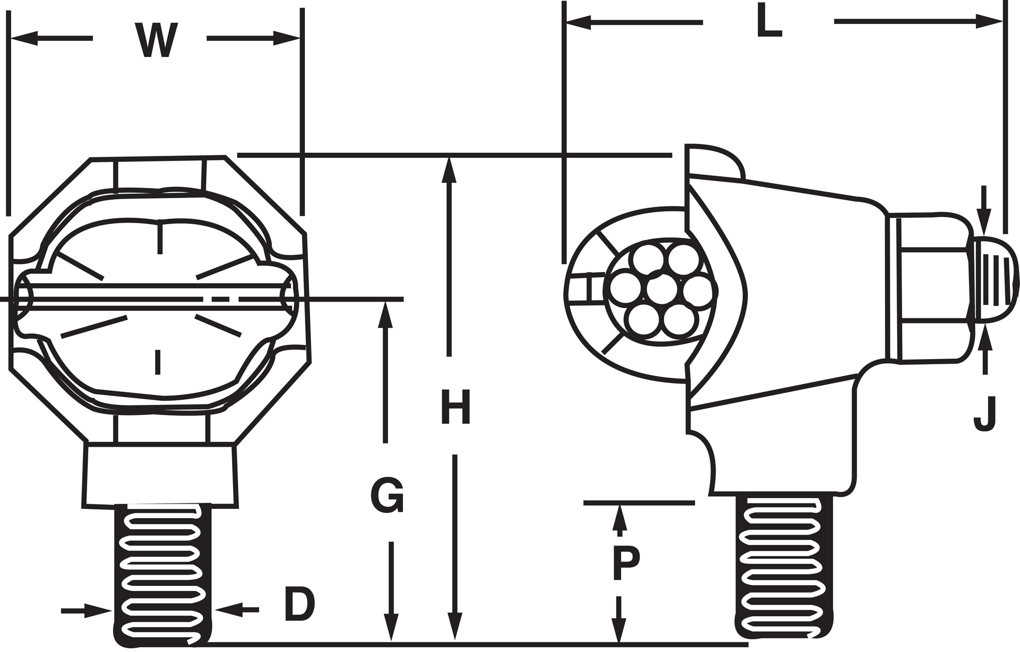
- Can be tightened by using a wrench on the body
- For silicon bronze hardware, suffix catalog number with -SBH
- For tin plating, suffix catalog number with -TN
- RUS accepted both plain and tin plated

SINCE 1928 MADE IN USA

