BL810FL

Copper Compression Battery Lug - Standard Flared Barrel, One Hole Tongue with Closed Transition 8 AWG

  • Manufactured from seamless pure electrolytic grade copper
  • For copper conductors only
  • Designed for use in general wiring and OEM applications such as battery cables, cable harnesses, battery-powered UPS systems, generators, etc. 
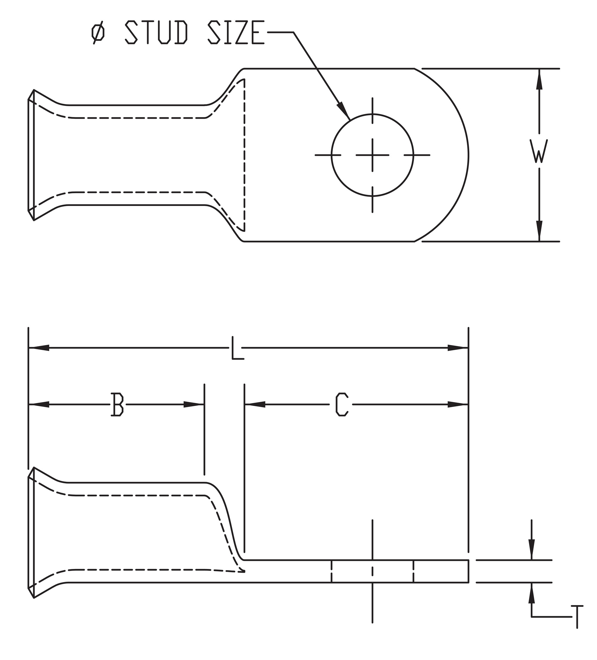
  • Closed transition design protects the end of the conductor from harsh environments 
  • Rounded pad end for orientation and alignment flexibility 
  • Flared barrel entry for easy conductor insertion
    • To order without flared barrel, remove the suffix “FL” from the catalog number
  • Suitable for applications up to 35 KV
  • Rated 600 volts / 90°C
  • UL 486A listed
  • Tin plated to inhibit corrosion
    • For non-plated connector, add suffix “-UP” to the catalog number
  • For 45° or 90° bent tongue, add suffix “-45” for 45° or “-90” for 90° to the catalog number
W (in.)0.46
C (in.)0.68
T (in.)0.07
B (in.)0.55
L (in.)1.26

No Downloads Found