


- Manufactured from high conductivity seamless copper tubing
- Tin-plated to inhibit corrosion
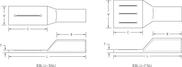
- Beveled entry for easy cable insertion
- Closed transition protects end of cable from environmental conditions
- Blank / Undrilled tongue allows user to select custom hole sizes and spacings while maintaining UL listing and CSA certification
- Scored line locates center of tongue and prevents drill from walking
- Long barrel provides high pull out force and added secureness for improved mechanical and electrical properties
- Color coded barrel is marked with die index number
- Connectors are suitable for voltages up to 35 KV
- For 45° or 90° bent tongue, add suffix -45 for 45 deg. or -90 for 90 deg. to the catalog number
- UL listed per UL486A-B and CSA certified per C22.2 No. 65 for power applications
- UL listed for grounding, bonding, and direct burial applications per UL467
- CSA certified for for grounding, bonding, and direct burial applications per C22.2 No. 41
- UL listed and CSA certified with Penn-Union, Burndy, T&B, Huskie, Greenlee and Versa-Crimp® style tooling
SINCE 1928 MADE IN USA
